液壓油缸,工程油缸,泵車油缸,專用車油缸制造商-湖北佳恒科技有限公司

產品展示
自卸車油缸|泵車|隨車吊油缸|環衛車油缸|液壓系統|泵送系統|放大架總成|礦用液壓支柱|背罐車油缸|起重機油缸|
前置頂液壓油缸|中頂缸|伸縮式套筒液壓缸|雙作用液壓缸|
您現在所在的位置:首頁 > 產品中心 > 產品分類 > 自卸車油缸 > 中頂缸

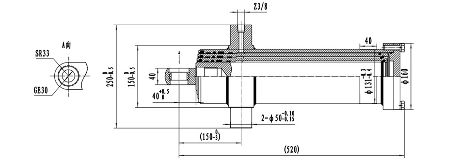
腹舉式--TG110系列

腹舉式--TG110系列

TG110系列

★性能穩定,質量可靠,廣泛用于雙缸腹舉農用車上

★安全可靠,使用壽命長

★尺寸精度控制極為嚴格,可保證雙缸或多缸同時使用同步性,降低出現舉升偏差造成的側翻等故障風險。

 

    外形安裝尺寸(括號由尺寸可根據廠家要求作改動)


腹舉式--HG220系列
腹舉式--HG200系列
腹舉式--HG180系列
腹舉式--HG160系列
腹舉式--TG110系列
湖北佳恒科技股份有限公司 | 版權所有 鄂ICP備17026771號-1 十堰網站建設 | 制作維護
地址:湖北省十堰市高新區天馬大道387號 電話:400-885-7266 0719-7590366 7590668
--相關友情鏈接--
十堰網站建設
三一重工