設為首頁
|
CRM
|
企業郵箱
|
企業OA辦公
English
視頻庫
佳恒微信二維碼
網站首頁
歡迎訪問湖北佳恒科技股份有限公司!
關于我們
公司簡介
董事長致辭
組織結構
企業榮譽
專利證書
社會公益
3D車間展示
新聞中心
企業新聞
行業動態
企業文化
品牌標識
發展之路
文化理念
企業風采
企業培訓
五年規劃
產品中心
新品推薦
產品分類
產品應用
在線訂購
技術支持
生產與檢測裝備
保養與使用說明
人才招聘
招賢納士
簡歷投遞
聯系我們
聯系方式
營銷網絡
售后網絡
生產與檢測裝備
保養與使用說明
您現在所在的位置:
首頁
>
技術支持
>
保養與使用說明
自卸車液壓系統原理、組成及安裝---一、自卸車液壓系統工作原理
發布日期: 2012-12-05 00:00:00
關注:
字號:
|
打印
新浪微博
搜狐微博
QQ空間
開心網
人人網
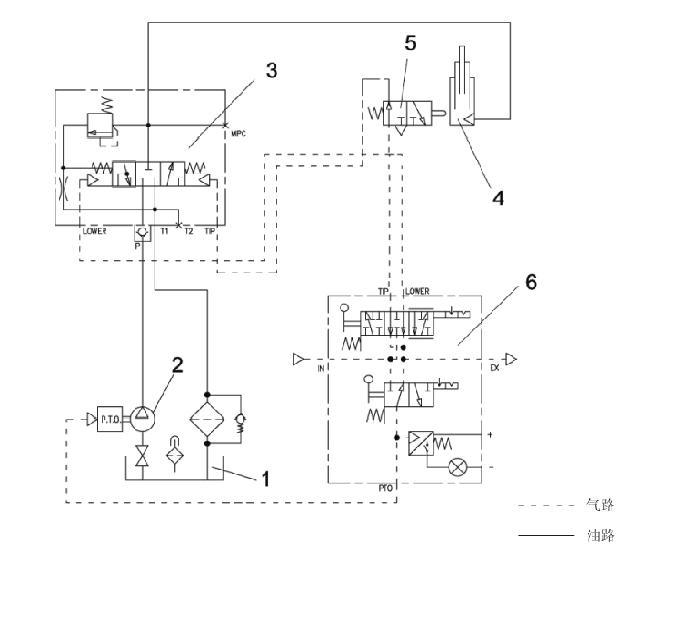
自卸車液壓系統原理、組成及安裝
一、自卸車液壓系統工作原理
1
、液壓油箱
2
、齒輪泵
3
、慢降氣控換向閥
4
、液壓缸
5
、限位閥
6
、慢降組合控制氣閥
上一條:
自卸車液壓系統原理、組成及安裝----二、自卸車液壓系統組成
下一條:
佳恒液壓缸常用型號參數
湖北佳恒科技股份有限公司
| 版權所有
鄂ICP備17026771號-1
十堰網站建設 | 制作維護
地址:湖北省十堰市高新區天馬大道387號 電話:400-885-7266 0719-7590366 7590668
--相關友情鏈接--
十堰網站建設
三一重工
網站首頁
|
人才招聘
|
聯系我們